DISRUPTORES ENDOCRINOS
Disruptores endocrinos
Los resposables de la confusión del organismo
Disruptores endocrinos. Composición química, mecanismo de acción y efecto sobre el eje reproductivo
Aerticulo de internet
Correspondencia: Hugo Scaglia E-mail: info@iabe.com.ar Disruptores endocrinos. Composición química, mecanismo de acción y efecto sobre el eje reproductivo Hugo Scaglia, Carlos Chichizola, Maria Cecilia Franconi, Beatriz Ludueña, Carlos Mastandrea, Javier Scaglia Laboratorio de Determinaciones Hormonales. Hospital Italiano de La Plata y Alkemy-Center Lab. Santa Fe Reproducción 2009; 24:74-86
Resumen
Los disruptores hormonales son cualquier compuesto químico contaminante del medio ambiente que una vez incorporado a un organismo afecta el equilibrio hormonal en el humano y en diversas especies.
Pudieran clasificarse en: derivados de productos farmacéuticos, productos naturales, fungicidas, pesticidas organoclorados, derivados de la industria del plástico, derivados del antraceno, miméticos androgénicos y metales.
En los últimos 69 años se han documentado alteraciones importantes en numerosas especies localizadas en diferentes áreas del planeta; entre otras, pérdida de la capacidad reproductora e instinto maternal, mortandad masiva de algunas especies, comportamiento sexual anormal o deformaciones de los órganos reproductores.
Los disruptores endocrinos (DE) pueden actuar modificando la biosíntesis, el transporte y el metabolismo de los esteroides sexuales y como agonistas o antagonistas androgénicos o estrogénicos por interacción con sus respetivos receptores, alterando en consecuencia el equilibrio fisiológico hormonal en ambos sexos induciendo fenómenos patológicos en los respectivos ejes reproductivos. En varones recién nacidos puede observarse micropene y en adultos oligospermia, anormal movilidad y morfología espermáticas y disminución de la testosterona. En niñas pueden producir telarca prematura y en mujeres adultas alteraciones de la fertilidad o esterilidad. Pudieran también estar involucrados en procesos de carcinogénesis.
Las distintas sociedades científicas deberían tratar de obtener mayor efectividad en el control de las sustancias químicas para la protección de la salud y del medio ambiente. Esto no significa que se prohíba la síntesis de estos compuestos, algunos de los cuales tienen gran importancia en la agricultura y la ganadería. Lo que sí debería lograrse es una mayor motivación para que la industria química desarrolle compuestos con las acciones benéficas necesarias sin interferir en los mecanismos hormonales.
Introducción
En los últimos 69 años se han documentado alteraciones importantes en numerosas especies localizadas en diferentes áreas del planeta. Estos problemas incluyeron diversos fenómenos entre los que se han reportado:
1. Pérdida de la capacidad reproductora e instinto maternal, así como pérdida del instinto de aparearse y de crianza en las águilas de Florida, en los visones del Lago Michigan o la muerte antes de salir del huevo de las gaviotas del Lago Ontario y los caimanes del Lago Apopka.
2. Mortandad masiva como la desaparición de las nutrias en algunos ríos de Inglaterra y de focas del Mar del Norte y delfines del Mediterráneo.
3. Comportamiento sexual anormal como la formación de parejas entre hembras de gaviotas en California. Este comportamiento también se observó en otras aves de los Grandes Lagos, Massachusetts y Golfo de Puget.
4. Deformaciones en los órganos reproductores como lo observado en caimanes en el Lago
Apopka, donde los machos presentaron penes anormal -mente pequeños y feminización de peces a la salida del vertido de depuradores de aguas municipales en Inglaterra.
En el libro de Krimsky Hormonal Chaos se puede leer una importante revisión histórica y una visión futura de este problema.1
El punto común a los numerosos problemas sufridos por especies tan diferentes, incluso vegetales, y localizadas en lugares tan lejanos, fueron aquellos controlados en gran parte por su sistema endocrino y estuvieron ocasionados por la exposición a sustancias químicas sintéticas.2
Cada vez son más las evidencias científicas que muestran que numerosas sustancias con diferentes estructuras químicas pueden interferir con los procesos biológicos regulados hormonalmente.
A través de la experimentación se observó la afectación de la función reproductiva y el desarrollo. Aunque más difícil de demostrar, también existen evidencias de que estas sustancias afectarían a los humanos.3Definición de los disruptores endocrinos (DE)
Un DE es cualquier compuesto químico contaminante del medio ambiente que una vez incorporado a un organismo afecta el equilibrio hormonal del mismo en diversas especies, entre ellas el humano.
Numerosos sistemas han sido descriptos que afectan el eje reproductivo masculino (ver cita 4 para una revisión al respecto), sin embargo, cuali y cuantitativamente son superiores aquellos que resultan agonistas-antagonistas de las hormonas sexuales femeninas.5
Estos DE son diferentes tipos de sustancias químicas que son usadas en una amplia variedad de herbicidas, fungicidas, insecticidas, en la industria del plástico, en producción de cosméticos y comestibles y son contaminantes de los efluentes de varias industrias.6
La nomenclatura que han recibido los disruptores hormonales es muy diversa. En general se los denomina estrógenos ambientales,7 sin embargo, han recibido también denominaciones tales como xenoestrógenos,8 hormonas ambientales,9-10 agentes hormonales activos11 y señales ambientales,12 entre otras.
La concentración de los DE es muy baja. Sin embargo, debido a que no son transportados por proteínas sus niveles son biológicamente activos pudiendo alterar el delicado balance hormonal comprometiendo la salud reproductiva y pudiendo estar involucrados en procesos de carcinogénesis. 13 (Ver más abajo para una explicación del concepto de actividad biológica de los esteroides).
En síntesis, está claramente demostrado que los DE pueden actuar como agonistas-antagonistas androgénicos o estrogénicos alterando el equilibrio fisiológico hormonal en ambos sexos induciendo fenómenos patológicos en los respectivos ejes reproductivos.
Estos
receptores pueden, en determinadas circunstancias, tener un efecto
represor sobre la transcripción cuando el dominio de transactivación
está escondido impidiendo la activación del mismo.
En síntesis, dado
que el RA y el RE son factores de transcripción que se encuentran
inactivos por estar unidos a las HSPs, la activación de los mismos por
desplazamiento de éstas permite la trasncripción genómica. Esta
activación se produce en el RA por la T y DHT, y en el RE por estradiol;
sin
embargo cualquier sustancia que pueda desplazar las HSPs, del RA o del
RE tendrá un efecto androgénico o estrogénico respectivamente.
Fisiología y mecanismo de acción de los estrógenos y andrógenos
Producción y transporte de hormonas esteroideas sexuales.
La
testosterona (T) en el hombre es producida en las células de Leydig del
testículo estimulada por LH y regulada por factores sintetizados en las
células de Sertoli estimuladas por FSH. 14 La Dihidrotestosterona (DHT)
es producida por la acción de la 5α-reductasa sobre la T en diversos
tejidos periféricos.
El origen de la T en la mujer es 25% del ovario,
25% de la adrenal y el 50% restante proviene periféricamente de
precursores como el sulfato de dehidroepiandrosterona (DHEA-S), la DHEA
libre y la androstenediona (A4). Estos precursores son de origen adrenal
en el 90%, 80% y 40%, respectivamente. El remanente de los mismos es de
origen ovárico. La DHT se produce en tejidos periféricos,
particularmente en la piel, por acciónde la 5α-reductasa, tanto tipo 1
como 2.15
El
estradiol (E2) en ambos sexos es producido por la acción de a CYP19
aromatasa sobre la T y A4. En el hombre esta acción es estimulada por LH
y posiblemente por FSH. 14 En la mujer la producción de E2 se realiza
en las células de la granulosa inducida por el efecto trófico de la FSH.
La aromatización también se efectúa en la mama, cerebro, hueso,
endometrio, músculo liso, endotelio vascular, placenta y piel.15
Estos
esteroides circulan en parte libre y en parte unidos a una proteína de
gran afinidad y baja capacidad, la SHBG. La afinidad de la DHT, de la T y
del E2 es de 5.5, 1.6 y 0.7x109M-1, respectivamente, con una velocidad
de disociación mayor de 20 segundos, velocidad de tránsito de un vaso
aferente a un capilar, por lo cual se acepta en general que esta
fracción no actúa en los tejidos periféricos. Una importante fracción de
los mismos circula unida a la albúmina, proteína de gran capacidad y
con una afinidad 10.000 veces menor (104 M -1) que la de la SHBG y con
una velocidad de disociación menor de 20 segundos. La porción libre y la
unida a la albúmina difunden a través de la membrana celular en los
tejidos periféricos ejerciendo su acción biológica en aquellos que
tengan receptores específicos para los mismos.
A estas fracciones se las denomina biodisponibles.
Receptor de hormonas esteroideas sexuales
Los
receptores de andrógenos (RA) y de estradiol (RE) son miembros de una
superfamilia de receptores nucleares de tipo 1, junto con los de
glucocorticoides, progesterona y hormonas tiroideas. Este tipo de
receptor se caracteriza porque se homodimeriza en presencia del ligando.
Los
del tipo 2 lo hacen formando un heterodímero con el receptor del ácido
9-cis retinoico; los ligandos de estos receptores son las hormonas
tiroideas, vitamina D, ácido transretinoico y el PPAR. Los del tipo 3
son orfánicos (o huérfanos) no conociéndose exactamente hasta el
frecuente cuáles son sus ligandos.16
Los
RA y RE existen en condiciones basales como complejos citoplasmáticos
inactivos formados con asociación de proteínas de choque térmico (HSPs).
Funcionalmente
estos receptores constituyen un grupo de factores de transcripción que
regulan la expresión genética en diversos procesos fisiológicos.16
EL
RA y la forma α y β del RE están codificados por 3 genes que presentan 8
exones cada uno, ubicados en los cromosomas X, 6 y 14, respectivamente.
Estos receptores presentan una caracterizada por tener 8 cisteínas que
se unen cada 4 de ellas a 2 moléculas de Zn formando los denominados
"dedos de Zn". Los receptores tienen tres dominios diferentes: el de
unión al ligando en el COOH terminal, el de dimerización y unión al ADN
en la zona de los dedos de Zinc, y el dominio modulatorio en la zona del
NH2 terminal. Los andrógenos o los estrógenos entran en el citoplasma y
selectivamente se unen a sus receptores, con lo cual cambia la
conformación de éstos y se liberan las HSPs por pérdida de la afinidad
por las mismas. El receptor unido al esteroide se activa, se dimeriza
con otro receptor por uno de los dedos de Zn y se introduce en el núcleo
y por el otro dedo de Zn se une al ADN en la región promotora del gen,
reconociendo las estructuras cortas específicas del ADN y adquiere su
actividad de factor de transcripción. Al final de esta operación el
dímero se incrusta en el ADN formando un compuesto de iniciación que
regula la trascripción de genes específicos (para una completa revisión
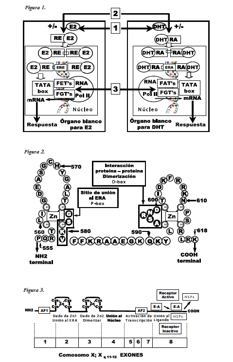
ver cita 17). En la Figura 1 se muestra un esquema del RA, sus dominios y
la expresión de cada exón en cada uno de los dominios
correspondientes. El RE es similar.
La Figura 2 muestra en detalle la
composición de aminoácidos de los 2 dedos de Zn y dentro de éstos
aquellos que permiten dimerizarse o unirse al ADN.
La zona de
reconocimiento en el ADN del RA y del RE respectivamente se denominan
Elemento de Respuesta a los Andrógenos (ERA) y Elemento de Respuesta a
los Estrógenos (ERE). A través de este mecanismo la unión al ERA y al
ERE se activa el TATA box y recluta factores de transcripción generales
(FGTs) y específicos de andrógenos (FATs) y estrógenos (FETs),
respectivamente. En ambos casos se activa la RNA polimerasa II en la
región promotora para andrógenos y estrógenos respectivamente,
induciendo la expresión genética.
La Figura 3 muestra un esquema del
mecanismo de acción genómica de los andrógenos y estrógenos mediada por
su receptor. El ERA y ERE son estructuras palendrómicas localizadas en
zonas regulatorias de los genes dependientes de andrógenos y estógenos.
Son secuencias repetidas invertidas separadas por tres nucleótidos como
puede verse para cada una de ellas.
-
ERA: 5´ TGTTCT nnn AGAACA 3´
- 3´ ACAAGA nnn TCTTGT 5´
- ERE: 5´ GGTCA nnn TGACC 3´
- 3´ CCAGT nnn ACTGG 5´

Estos
receptores pueden, en determinadas circunstancias, tener un efecto
represor sobre la transcripción cuando el dominio de transactivación
está escondido impidiendo la activación del mismo.
En síntesis, dado
que el RA y el RE son factores de transcripción que se encuentran
inactivos por estar unidos a las HSPs, la activación de los mismos por
desplazamiento de éstas permite la trasncripción genómica. Esta
activación se produce en el RA por la T y DHT, y en el RE por estradiol; sin
embargo cualquier sustancia que pueda desplazar las HSPs, del RA o del
RE tendrá un efecto androgénico o estrogénico respectivamente.
Disruptores endocrinos y el sistema
neuroendocrino
Está debidamente establecido que el sistema neuroendocrino, entre otras funciones, regula la reproducción, el eje tiroideo, el crecimiento, el estrés y la lactación. La integración de este sistema involucra señales de células del sistema nervioso central liberando hormonas hipotalámicas estimulantes o inhibidoras de la producción hormonal
adenohipofisaria para regular los distintos ejes endocrinos. Como ha sido demostrado en roedores, diversos DE pueden actuar directamente en el sistema neural modificando la secreción de neurotransmisores como la serotonina, norepinefrina y acetilcolina.44
En el caso de la reproducción los DE a nivel del sistema nervioso central alteran diversos aspectos de la vida reproductiva en ambos sexos comovimos en párrafos anteriores.
Para el eje tiroideo los DE pueden actuar a los 3 niveles: neuronas hipotalámicas productoras de TRH, producción hipofisaria de TSH y tiroideaNovedosos Disruptores endocrinos
Recientemente un grupo de investigadores argentinos46 demostró que el 4-methylbenzylidene camphor (4-MBC), un absorbente ultravioleta, administrado a bajas dosis regula el eje neuroendocrino reproductivo en ratas macho. Estudios in vivo mostraron una disminución de la concentración circulante de LH y FSH. Estudios in vitro demostraron la disminución de la secreción de GnRH hipotalámica. Entendemos que este estudio es de singular
importancia debido a que este tipo de compuestos se emplean en protectores solares con las implicancias que tiene su posible acción como DE considerando que su estructura química similar a la del estradiol podría actuar como mimético estrogénico, afectando sobre todo a niños y niñas prepuberales susceptibles genéticamente. Además, es almacenado en el tejido adiposo prolongándose su liberación por varias semanas.
Conclusiones
Actualmente resulta muy dificultoso sacar conclusiones directas sobre el efecto de los DE en el humano por las limitaciones y la complejidad de estos estudios. Los estudios en humanos están limitados a subpoblaciones altamente expuestas a DE en forma accidental o laboral. Sin embargo, aunque son limitadas, en el humano existen
evidencias directas donde los datos clínicos y epidemiológicos convergen para implicar a los DE en varias patologías como alteraciones de los ejes reproductivo y tiroideo en hombres y mujeres, así como en la patogénesis de la obesidad y diabetes. Respecto de los DE y de su acción alterando el equilibrio hormonal, deben considerarse diversos aspectos:
1. El tiempo de exposición a los DE.
2. La exposición a los DE raramente es única.
3. Los mecanismos que alteran los ejes endocrinos involucran su acción sobre los receptores nucleares, otros procesos de la esteroidogénesis y caminos metabólicos no mediados por esteroides como por ejemplo neurotransmisores.
4. Pueden afectar no sólo al individuo, sino también a distintas personas si se modifica la línea germinal presentándose como un fenómeno genético o epigenético.
5. La influencia de los DE sobre el sistema neural y neuroendocrino puede ser transmitido a próximas generaciones.47
En los humanos la exposición a los DE se produce por múltiples vías. Puede ser oral (con alimentos, agua u otros líquidos), por la piel (por cosméticos u otros productos de cuidado personal) y en los niños también por contacto con juguetes de diversos materiales o por inhalación. Serán necesarios estudios epidemiológicos "gold standard" para evaluar los riesgos sobre la salud en los humanos. Estos son caros y lentos, y se necesita un mínimo de 5 años desde la concepción para estudiar los resultados sobre la salud. Las ciencias de la salud en general, y la toxicología y la endocrinología en especial, juegan un papel muy importante en el seguimiento de los químicos que se encuentran en nuestro entorno y en la producción industrial de los mismos.
Esto no significa que se prohíba la síntesis de estos compuestos, algunos de los cuales tienen gran importancia en la agricultura y la ganadería. Lo que sí debería lograrse es una mayor motivación para que la industria química desarrolle compuestos con estas acciones benéficas sin interferir en los mecanismos hormonales.
Referencias
1. Krimsky, S. Hormonal Chaos. The Scientific and Social Origins of the Environmental Endocrine Hypothesis. Johns
Hopkins University Press, Baltimore, MD 2000.
2. Theo Colborn, John Peterson Myers, Dianne Dumanoski. Our Stolen Future. 1996. Dutton, New York.
3. Satoh K, Nagai F, Aoki N. Several environmental pollutants have binding affinities for both androgen receptor
and estrogen receptor α. J Health Sci 47: 495-501; 2001.
4. Chichizola C, Scaglia HE. Disruptores Endocrinos y Función Testicular. Revista Internacional de Andrología 5: 181-192, 2007.
5. Danzo BJ. The effects of environmental Hormones on reproduction. Cell Mol Life Sci 54:1249-1264, 1998.
6. Kumar V, Majumdar C, Roy P. Effects of endocirne disrupting chemicals from leather industry effluents on male reproductive system. J Steroid Biochemistry Mol Biol 111: 208-216, 2008.
